Casting Vice

Technical Information and Dimensions: Material: Cast Iron or Ductile Iron, Coating: Electrogalvanized

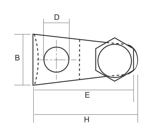
  • Code: MNGN0800 Nominal Diameter: M.8 AxBxCxDxFxWxH (mm): 23x21x42x10xM.10x20x44 Application Load: 2,500 N
  • Code: MNGN1000 Nominal Diameter: M.10 AxBxCxDxFxWxH (mm): 23x21x42x11xM.10x20x44 Application Load: 2,500 N

Application Examples:

© 2025 Karsac | All Rights Reserved. | Created by BWorks